Merkez Vida Bağlantı Elemanları
  • Hakkımızda
  • İletişim
  • 0352 503 20 88
  • Ana Sayfa
  • Ürünler
    • Vidalar
    • Civatalar
    • Rondela ve Somun
    • Vitrifiye Montaj Setleri
    • Özel Bağlantı Elemanları
  • Üretim
  • İletişim
  • Ana Sayfa
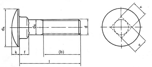
  • Yuvarlak Başlı Dibi Dörtköşe Cıvata

Yuvarlak Başlı Dibi Dörtköşe Cıvata

Yuvarlak Başlı Dibi Dörtköşe Cıvata

  • Ürünler
    • Vidalar
    • Civatalar
      • Civatalar
      • Altıköşe Başlı Yarım Diş Cıvata
      • Altıköşe Başlı Tam Diş Cıvata
      • İmbus Cıvata
      • HB İmbus Cıvata
      • Yuvarlak Başlı Dibi Dörtköşe Cıvata
      • Altıköşe Başlı Flanşlı Cıvatalar
    • Rondela ve Somun
    • Vitrifiye Montaj Setleri
    • Özel Bağlantı Elemanları

DIN 603 ISO 8677

DIN 603 ISO 8677

DIN 603 ISO 8677<
DIN 603 ISO 8677<
DIN 603 ISO 8677<

Bize Ulaşın

İletişim

  • Adres: Kayseriosb Mah. 16 Cad. 62 Melikgazi, Kayseri

  • Telefon: 0352 503 20 88

  • Email: info@merkezvida.com

Bizi Takip Edin

© Copyright 2022 Merkez Vida Bağlantı Elemanları Her Hakkı Saklı